Η τροποποίηση του σχήματος του ψαλιδιού εν κινήσει υπόσχεται καλύτερη πρόσφυση και κράτημα στις στροφές.
Η γεωμετρία και η ακαμψία του ψαλιδιού μιας μοτοσυκλέτας συγκαταλέγονται στα πιο προσεκτικά υπολογισμένα στοιχεία του σχεδιασμού του πλαισίου, ιδιαίτερα στους αγώνες, όπου το σχήμα και η ελεγχόμενη ακαμψία είναι καθοριστικά για τη βελτίωση των χρόνων γύρου. Υπάρχει όμως ένας συμβιβασμός, καθώς οι απαιτήσεις της στροφής έρχονται σε αντίθεση με την μέγιστη επιτάχυνση στην ευθεία όπου το ψαλίδι πρέπει να χαμηλώσει τη μοτοσυκλέτα και αυτό που απασχολεί τους μηχανικούς της Yamaha είναι η ανάπτυξη ενός ψαλιδιού μεταβλητής γεωμετρίας που θα λύνει αυτά τα προβλήματα.

Το MotoGP έχει ήδη αναδείξει τις δυνατότητες που προσφέρει η συνολική μεταβλητή γεωμετρία με τα πολυσυζητημένα συστήματα ρύθμισης ύψους που χρησιμοποιούνται στα σύγχρονα πρωτότυπα. Ξεκίνησαν ως απλές διατάξεις για το κλείδωμα του πιρουνιού κατά την εκκίνηση, μειώνοντας το κέντρο βάρους ώστε να επιτυγχάνεται ισχυρότερη επιτάχυνση και αποτροπή της ανύψωσης του εμπρός τροχού και στη συνέχεια, η Ducati εισήγαγε σύστημα χαμηλώματος πίσω μέρους με τον ίδιο στόχο, να έχει καλύτερες εκκινήσεις, αλλά και διαφορετική γεωμετρία όπως και διαφορετική κλίση των αεροδυναμικών βοηθημάτων που προκύπτει από το χαμήλωμα του πίσω μέρους. Μέχρι το 2021, τόσο τα εμπρός όσο και τα πίσω συστήματα ρύθμισης ύψους χρησιμοποιούνταν ευρέως στο MotoGP και σύντομα έγινε σαφές ότι οι δυνατότητές τους ξεπερνούσαν την εκκίνηση, με τις ομάδες να αναπτύσσουν τρόπους ενεργοποίησης των συστημάτων σε όλη τη διάρκεια του γύρου για καλύτερη επιτάχυνση στην έξοδο των στροφών.

Αν και οι εμπρός διατάξεις ρύθμισης ύψους εν κινήσει απαγορεύτηκαν από το 2023 (εκτός από το σύστημα holeshot μίας χρήσης για την εκκίνηση), τα συστήματα ρύθμισης ύψους θα απαγορευτούν από τη σεζόν 2027. Η λύση αυτή δε θα μπορούσε έτσι και αλλιώς να χρησιμοποιηθεί στο δρόμο γιατί αν ο αναβάτης κάνει λάθος στην απενεργοποίηση πριν τη στροφή, τότε μέσα στη στροφή δεν υπάρχει μεγάλο περιθώριο πλαγιάσματος και τα πλαϊνά φέρινγκ της μοτοσυκλέτας μαζί με τα μαρσπιέ θα ακουμπήσουν στην άσφαλτο ακόμα και με μικρή κλίση, ενώ η διαφορετική λειτουργία της ανάρτησης η οποία δεν είναι κλειδωμένη αλλά χαμηλωμένη, δεν επιτρέπει να υπάρχει η κατάλληλη διαδρομή από τη στιγμή που η μοτοσυκλέτα “βρίσκει” στην άσφαλτο.

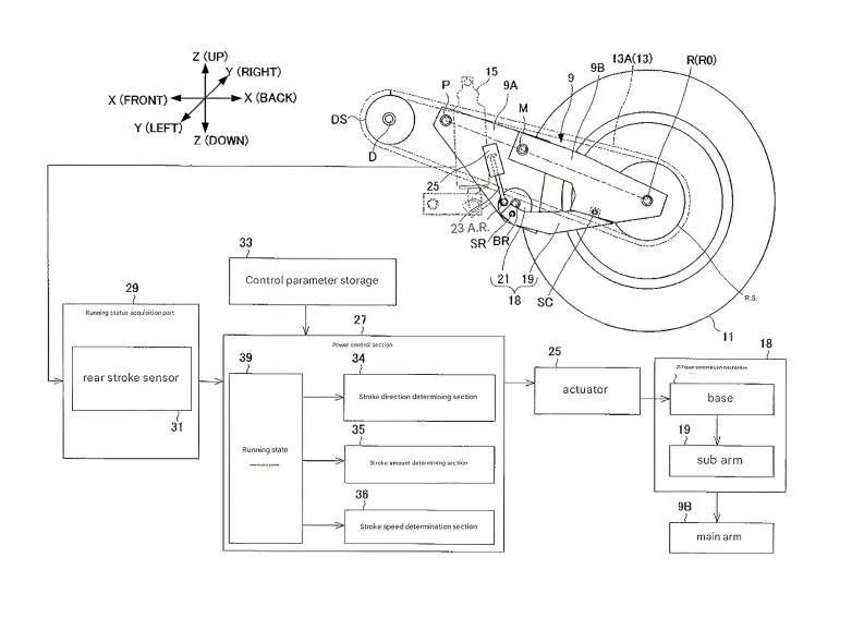
Τα σχέδια της πατέντας απεικονίζουν το αρθρωτό ψαλίδι, την υδραυλική διάταξη του εμβόλου και τον έκκεντρο μηχανισμό.
Μία αίτηση ευρεσιτεχνίας της Yamaha δείχνει πώς θα μπορούσαν να εξελιχθούν αυτά τα συστήματα αν υπήρχε ελευθερία στους κανονισμούς του MotoGP, αλλά και πως θα μπορούσαν να εφαρμοστούν στις μοτοσυκλέτες παραγωγής.
Σήμερα, τα πίσω συστήματα ρύθμισης ύψους λειτουργούν μεταβάλλοντας το μήκος μίας από τις ράβδους του μοχλικού της πίσω ανάρτησης, μειώνοντας το ύψος χωρίς να απαιτείται συμπίεση του ελατηρίου και του αμορτισέρ. Επειδή τα ηλεκτρονικά συστήματα ρύθμισης ύψους είναι εδώ και χρόνια παράνομα στο MotoGP, τα υπάρχοντα συστήματα είναι καθαρά μηχανικά. Ουσιαστικά, η ράβδος του πίσω μοχλικού αντικαθίσταται από μια υδραυλική ή πνευματική ράβδο με εσωτερικό έμβολο που μπορεί να κλειδώνει ή να ξεκλειδώνει το μήκος της ράβδου και όχι να κλειδώσει την ανάρτηση σε διαφορετικές θέσεις. Όταν η μοτοσυκλέτα έχει επιπλέον φορτίο υπό επιτάχυνση και ο αναβάτης ενεργοποιεί το σύστημα, η ράβδος εκτείνεται και κλειδώνει στη θέση που κρατά χαμηλά το πίσω μέρος για μέγιστη πρόσφυση και χαμηλό κέντρο βάρους. Όταν ο αναβάτης φρενάρει, το πίσω μέρος ανασηκώνεται και το σύστημα ξεκλειδώνει, επιτρέποντας στη ράβδο να κοντύνει καθώς η πίσω ανάρτηση εκτείνεται, κλειδώνοντας ξανά στην κανονική της θέση, διατηρώντας το πίσω μέρος ψηλά στην είσοδο και στο μέσο της στροφής για καλύτερη απόκριση, κράτημα και το απαραίτητο ύψος ώστε να μην ακουμπά η μοτοσυκλέτα στην άσφαλτο.

Η νέα ιδέα της Yamaha χρησιμοποιεί επίσης ράβδο με έμβολο που λειτουργεί με υδραυλικό τρόπο, αλλά αντί να συνδέεται με το μοχλικό του πίσω αμορτισέρ, βρίσκεται μέσα στο ίδιο το ψαλίδι και συνδυάζεται με ένα σύστημα που προσθέτει άρθρωση στο μέσο του ψαλιδιού. Το εμπρός τμήμα του ψαλιδιού συνδέεται συμβατικά με το μοχλικό της πίσω ανάρτησης, αλλά ο πίσω τροχός μπορεί να αλλάξει ύψος ανεξάρτητα προς τα πάνω ή προς τα κάτω χάρη στην άρθρωση και την υδραυλική πίεση στο έμβολο της ράβδου . Η ράβδος συνδέεται με έναν έκκεντρο μηχανισμό που επιμηκύνει ή κονταίνει το κάτω στήριγμα του ψαλιδιού. Πρόκειται για μια πραγματικά περίπλοκη διάταξη.
Σε αντίθεση με τα καθαρά μηχανικά συστήματα που επιτρέπονται στο MotoGP από τους τρέχοντες κανονισμούς έως το τέλος του 2026, η πατέντα της Yamaha αναφέρει ότι το νέο σύστημα ελέγχεται από ενεργοποιητή με παροχή ισχύος, ο οποίος αντιδρά σε δεδομένα αισθητήρων που υποδεικνύουν πότε η μοτοσυκλέτα επιταχύνει, στρίβει ή επιβραδύνει. Αυτό δεν θα ήταν νόμιμο στο MotoGP και υποδηλώνει ότι το σύστημα της νέας πατέντας αποτελεί πειραματική διάταξη για τη διερεύνηση του πλήρους δυναμικού μιας απολύτως μεταβλητής γεωμετρίας ψαλιδιού για χρήση στο δρόμο και φυσικά στην πίστα σε Track days. Η πατέντα εξηγεί επίσης πώς το σύστημα μπορεί να αντιδρά στις δυνάμεις που ασκούνται στην πίσω ανάρτηση λόγω μεταβολών στην τάση της αλυσίδας κατά την επιτάχυνση και επιβράδυνση. Φαίνεται υπερβολικά περίπλοκο, ωστόσο, είναι βέβαιο ότι η Yamaha μπορεί να αποκομίσει πολύτιμα διδάγματα από ένα τέτοιο σύστημα, ακόμη κι αν δεν εφαρμοστεί ποτέ σε αγώνες αλλά σε περιορισμένα μοντέλα παραγωγής.

Το σύστημα της Yamaha διαθέτει κουμπί ενεργοποίησης στο τιμόνι, αλλά σίγουρα δεν θα αφήνει χαμηλωμένη την ανάρτηση στις στροφές καθώς ελέγχεται με ηλεκτρονικό τρόπο, ενώ η λειτουργία του συστήματος δεν θα είναι παρόμοια με τη μηχανική του MotoGP και θα μπορεί πιθανότατα να αλλάζει το ύψος της μοτοσυκλέτας δυναμικά με γραμμικό τρόπο σε ενδιάμεσες ρυθμίσεις και μεταβολές εν κινήσει. Μένει να το δούμε στην παραγωγή με πολύ ενδιαφέρον.







.png)

