• Search
    • Search
    • Βρες ότι χρειάζεσαι γρήγορα και απλά.
5ος Αγώνας - Γαλικό GP (Le Mans)
Ο αγώνας βρίσκεται σε εξέλιξη!
Image
H νέα πατέντα της Ducati είναι μια καλή ιδέα για μείωση βάρους
Νέα Αγοράς 28/04/2026 - 11:58

Το νέο δίπλωμα ευρεσιτεχνίας της Ducati για ηλεκτρική μοτοσυκλέτα επικεντρώνεται σε στενή διάταξη (packaging) και ακριβή έλεγχο του κινητήρα, χρησιμοποιώντας μια μη συμβατική διάταξη αισθητήρων.

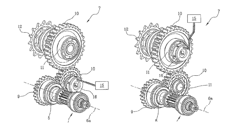
Η Ducati μόλις κατέθεσε μια νέα πατέντα για σύστημα μετάδοσης ηλεκτρικής μοτοσυκλέτας. Με την πρώτη ματιά φαίνεται τεχνικό, αλλά αν το αναλύσουμε, αυτό που απασχολεί τους πάντες, είναι αν η Ducati αρχίζει να παίρνει στα σοβαρά μια ηλεκτρική μοτοσυκλέτα δρόμου μιας και έχει κάνει την πιο σοβαρή εξέλιξη στην κατηγορία MotoE.

Από τη νέα πατέντα, γίνεται αμέσως σαφές ότι δεν πρόκειται για μια πρόχειρη λύση μετακίνησης απλώς για να μπορεί η Ducati να πει ότι έχει μια σπορ ηλεκτρική μοτοσυκλέτα. Η διάταξη δείχνει έναν εγκάρσια τοποθετημένο ηλεκτρικό κινητήρα που περιστρέφεται έως περίπου 18,500 σ.α.λ., ο οποίος συνδέεται με ένα κιβώτιο μίας ταχύτητας αλλά με σύστημα μείωσης αρκετών στροφών, πριν μεταδώσει την ισχύ μέσω αλυσίδας στον πίσω τροχό. Και μόνο αυτό δείχνει τι είδους μοτοσυκλέτα θέλει να είναι. Μια ηλεκτρική που προσπαθεί να συμπεριφέρεται σαν θερμική.

Και εδώ τα πράγματα έχουν πραγματικό ενδιαφέρον, γιατί στον σχεδιασμό, τα μεγαλύτερα προβλήματα στις ηλεκτρικές μοτοσυκλέτες είναι η χωροθέτηση. Οι μπαταρίες είναι μεγάλες, οι ηλεκτροκινητήρες έχουν αρκετές διαφορετικές σχεδιαστικές λύσεις στην κατασκευή τους για να έχουν τις ανάλογες διαστάσεις, αλλά στο τέλος, η μοτοσυκλέτα γίνεται πιο φαρδιά απ’ όσο πρέπει. Αυτό μειώνει τη γωνία κλίσης, αλλάζει την εργονομία και κάνει τη συνολική αίσθηση “βαριά” σε σχέση με μια θερμική. Η Ducati το γνωρίζει καλά, γι’ αυτό και όλη η πατέντα περιστρέφεται γύρω από τη λύση αυτού ακριβώς του προβλήματος.

Αντί να μεγαλώσουν τον ηλετροκινητήρα με επιπλέον εξαρτήματα, μεταφέρουν ένα από τα πιο κρίσιμα στοιχεία αλλού. Οι ηλεκτρικοί κινητήρες βασίζονται σε αισθητήρες θέσης για να γνωρίζουν ακριβώς τη θέση του ρότορα κάθε στιγμή. Έτσι ελέγχεται η ροπή, η απόδοση και η ομαλότητα μέσω τεχνικών όπως ο έλεγχος προσανατολισμένου πεδίου (field-oriented control), που συμβαίνει σε κάθε περιέλιξη για να εναλλάσσεται το ηλεκτρομαγνητικό πεδίο σε κάθε βήμα που κάνει ο κάθε σταθερός μαγνήτης. Συνήθως, αυτός ο αισθητήρας βρίσκεται απευθείας στον άξονα του κινητήρα. Απλό και ακριβές, αλλά προσθέτει πλάτος. Και η Ducati δεν θέλει καθόλου επιπλέον πλάτος.

Έτσι κάνουν κάτι έξυπνο. Τοποθετούν τον αισθητήρα στο κιβώτιο ταχυτήτων. Συγκεκριμένα, σε έναν από τους άξονες του κιβωτίου μετά τον κινητήρα. Αντί να διαβάζει απευθείας τον ρότορα, το σύστημα διαβάζει ένα γρανάζι και υπολογίζει τη θέση του ρότορα βάσει των γνωστών σχέσεων μετάδοσης. Είναι μια έμμεση μέθοδος, που ακούγεται σαν συμβιβασμός, αλλά λύνει σε μεγάλο βαθμό το πρόβλημα της χωροθέτησης. Ο ηλεκτροκινητήρας παραμένει μικρός και συμπαγής, η μοτοσυκλέτα λεπτή και οι αναλογίες πιο κοντά σε αυτό που περιμένει κανείς από μια Ducati.

Φυσικά, δεν είναι χωρίς μειονεκτήματα. Η ανάγνωση θέσης μέσω του κιβωτίου εισάγει πιθανά σφάλματα. Τα διάκενα των γραναζιών, οι ανοχές και οι μηχανικές καταπονήσεις, επηρεάζουν το αποτέλεσμα. Και αυτό δεν είναι ιδανικό όταν προσπαθείς να ελέγξεις με ακρίβεια τη ροπή σε χιλιάδες στροφές. Αλλά αν υπάρχει μια εταιρεία που είναι άνετη να ανταλλάξει μηχανική απλότητα με απόδοση και πολυπλοκότητα λογισμικού, αυτή είναι η Ducati.

Υπάρχουν κι άλλα ενδιαφέροντα στοιχεία. Το κιβώτιο ταχυτήτων έχει σχεδιαστεί ώστε να παραμένει συμπαγές, στοιβάζοντας τα γρανάζια σε πολλαπλά επίπεδα αντί να τα απλώνει σε ένα φαρδύ επίπεδο. Με απλά λόγια, το κιβώτιο γίνεται πιο λεπτό και ψηλό αντί για πιο φαρδύ. Και πάλι, ο στόχος είναι ένας: να διατηρηθεί η μοτοσυκλέτα στενή.

Η κατεύθυνση είναι ξεκάθαρη. Η Ducati δεν πειραματίζεται με περίεργες διατάξεις ηλεκτρικών κινητήρων κοντά στους τροχούς ή στην πλήμνη τους. Επιμένει σε γνώριμες λύσεις: μεσαία τοποθέτηση κινητήρα, μείωση μέσω κιβωτίου, μετάδοση με αλυσίδα, συμπαγές πλαίσιο. Είναι η ίδια συνταγή που χρησιμοποιεί εδώ και δεκαετίες και τώρα την χρησιμοποιεί και σε ηλεκτρική μοτοσυκλέτα.

Αυτό ταιριάζει απόλυτα με όσα έχουμε δει από την V21L στην MotoE. Αυτές οι μοτοσυκλέτες δεν είναι απλές. Είναι αγωνιστικές που απλώς είναι ηλεκτρικές με ηλεκτροκινητήρες υψηλών στροφών, ισχυρή απόδοση και πλαίσιο που δίνει έμφαση στην αίσθηση. Αυτή η πατέντα μοιάζει με το επόμενο λογικό βήμα για το πώς αυτή η τεχνογνωσία μπορεί να περάσει σε μια μοτοσυκλέτα δρόμου χωρίς να γίνει ένα βαρύ και περίπλοκο πείραμα.

Οι πατέντες λύνουν προβλήματα με στόχο μια μελλοντική εφαρμογή στην πράξη. Αυτή λύνει ένα πολύ συγκεκριμένο θέμα σχετικό με το πλάτος και τη χωροθέτηση. Δεν μας λέει πότε ή αν θα τη δούμε σε μοντέλο παραγωγής. Αλλά δείχνει πώς σκέφτεται η εταιρεία και αυτό έχει σημασία. Δεν αναρωτιούνται αν πρέπει να φτιάξουν μια ηλεκτρική μοτοσυκλέτα δρόμου. Σχεδιάζουν μια αυθεντική Ducati για να υπάρχει σε αυτή την κατηγορία, χωρίς να θεωρούν ότι με αυτές τις λύσεις θα περάσουν αποκλειστικά στην ηλεκτροκίνηση.

 

Επόμενο άρθρο »

CF MOTO: Συμμετοχή σε τρεις κορυφαίους αγώνες rally το 2026

« Προηγούμενο άρθρο

H Vespa γιορτάζει τα 80 της χρόνια με επετειακές εκδόσεις

Χορηγοί
Σχετικά άρθρα