Μια νέα πατέντα της Honda παίρνει την τεχνολογία αποφυγής σύγκρουσης από τον κόσμο των αυτοκινήτων και προσπαθεί να τη μεταφέρει στις μοτοσυκλέτες.
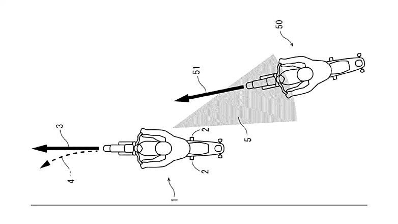
Η Honda κατέθεσε μια νέα πατέντα η οποία, στα χαρτιά, ακούγεται σαν μια λογική αναβάθμιση ασφάλειας, αλλά γίνεται πολύ πιο περίπλοκη όταν σκεφτεί κανείς τι σημαίνει αυτό για τους πραγματικούς αναβάτες. Το σύστημα χρησιμοποιεί κάμερες για να παρακολουθεί τα «τυφλά» σημεία μιας μοτοσυκλέτας και, αν κάποιο άλλο όχημα αρχίσει να πλησιάζει επικίνδυνα, μπορεί να εφαρμόσει εντολή στο τιμόνι μέσω ενός ενεργοποιητή ώστε να βοηθήσει τη μοτοσυκλέτα να αποφύγει μια σύγκρουση.

Η ιδέα δανείζεται πολλά από τα σύγχρονα συστήματα ασφάλειας των αυτοκινήτων. Η υποβοήθηση ελιγμού για την αποφυγή κινδύνου από τυφλό σημείο, όπου το αυτοκίνητο αντιδρά αν ο οδηγός δεν αντιδράσει εγκαίρως, έρχεται και στον κόσμο της μοτοσυκλέτας. Η διαφορά της Honda είναι ότι προσπαθεί να προσαρμόσει αυτή τη λογική στις μοτοσυκλέτες, όπου η εντολή στο τιμόνι επηρεάζει άμεσα την ισορροπία, την κλίση και την αυτοπεποίθηση του αναβάτη, ενώ αν ο δρόμος γλιστρά στη νέα πορεία που θα κατευθυνθεί η μοτοσυκλέτα μόνη της, τότε οι συνθήκες γίνονται πιο επικίνδυνες.

Σύμφωνα με την πατέντα, το σύστημα ελέγχει συνεχώς τις εντολές του αναβάτη. Αν η μοτοσυκλέτα ήδη στρίβει, επιταχύνει ή φρενάρει, το σύστημα υποθέτει ότι ο αναβάτης έχει αντιληφθεί το όχημα που πλησιάζει και μπορεί να εφαρμόσει ισχυρότερη υποβοήθηση στο τιμόνι άμεσα. Αν δεν κάνει κάτι ο αναβάτης άμεσα, υποθέτει ότι δεν είδε την απειλή και αυξάνει σταδιακά τη ροπή στο τιμόνι, ώστε αυτό να μη μετακινηθεί απότομα και τον τρομάξει.

Από τεχνολογική και μηχανολογική σκοπιά, είναι μια προσεγμένη ιδέα. Η Honda καταλαβαίνει ξεκάθαρα ότι μια μοτοσυκλέτα δεν μπορεί να συμπεριφέρεται σαν αυτοκίνητο. Οι απότομες διορθώσεις στο τιμόνι πάνω σε δύο τροχούς μπορεί να είναι επικίνδυνες, γι’ αυτό και το σύστημα έχει σχεδιαστεί να παρεμβαίνει ήπια και μόνο όταν χρειάζεται.
Το πρόβλημα όμως στις μοτοσυκλέτες ήταν πάντα η πιο προσεκτική οδήγηση και είναι θέμα επίγνωσης και προσωπικής ευθύνης. Η οδήγησή της χρειάζεται διαφορετική προσέγγιση από το αυτοκίνητο, θεωρώντας ότι τα πάντα γύρω είναι πιθανός κίνδυνος. Ακόμα κι όταν κάτι δεν είναι λάθος του αναβάτη, η επιπτώσεις είναι σοβαρές και χρειάζεται η προνοητικότητα για τα λάθη άλλων οδηγών. Αυτή η νοοτροπία δεν είναι προαιρετική, είναι ο τρόπος που οι αναβάτες μένουν ζωντανοί.
Η νέα πατέντα της Honda ενδίδει στη σύγχρονη εμμονή να προσθέτουμε περισσότερη τεχνολογία σε όλα. Το cruise control είναι ένα σύστημα που βγάζει νόημα σε μεγάλα ταξίδια στον αυτοκινητόδρομο. Μειώνει την κόπωση και βελτιώνει πραγματικά την άνεση. Πέρα από αυτό, όμως, τα πράγματα θολώνουν. Οι προειδοποιήσεις τυφλού σημείου ήδη διχάζουν τις απόψεις. Η πραγματική παρέμβαση στο τιμόνι ξεπερνά ένα όριο για πολλούς αναβάτες.
Υπάρχει επίσης και η πολυπλοκότητα. Οι κάμερες λερώνουν και δεν είναι σίγουρο ότι το σύστημα δουλεύει συνεχώς. Οι αισθητήρες παρερμηνεύουν καταστάσεις και μπερδεύονται από σκιές. Το λογισμικό αναπόφευκτα αποτυγχάνει και είναι πολύπλοκο να καταλάβουμε αν δουλεύει σωστά. Κάθε νέο σύστημα προσθέτει βάρος, κόστος και περισσότερα πράγματα που μπορεί να χαλάσουν, ιδιαίτερα αν βρισκόμαστε μακριά από έναν αντιπρόσωπο με τα σωστά εργαλεία. Η Honda προσπαθεί να το μετριάσει αυτό με σταδιακή παρέμβαση και έλεγχο της πρόθεσης του αναβάτη, με ένα σύστημα που πάντα μπορεί να υποχωρεί στις δυνάμεις του αναβάτη και ποτέ δεν εφαρμόζει μεγάλη δύναμη.

Στην ανάπτυξη αυτών των συστημάτων η Honda δεν είναι η μόνη και αρκετοί κατασκευαστές ακολουθούν τον ίδιο δρόμο, όπως η BMW και η Ducati που έχουν ήδη συστήματα ασφάλειας βασισμένα σε ραντάρ και προηγμένα βοηθήματα αναβάτη. Αυτή η πατέντα απλώς δείχνει πόσο μακριά μπορεί να φτάσει αυτή η σκέψη. Όταν φτάσει στις μοτοσυκλέτες παραγωγής, θα τοποθετηθεί πρώτα σε κορυφαία touring μοντέλα, πολύ πριν εμφανιστεί στις σπορ μοτοσυκλέτες. Και είναι σχεδόν βέβαιο ότι πολλοί αναβάτες θα την απενεργοποιούν, ακόμα και αν δουλεύει τέλεια.
Οι μοτοσυκλέτες γίνονται πιο ασφαλής, πιο αυτόνομες και πιο εξαρτημένες από την υψηλή τεχνολογία των ηλεκτρονικών. Αυτό μπορεί να βελτιώνει την ασφάλεια στα χαρτιά, αλλά ταυτόχρονα κινδυνεύει να αλλάξει τη νοοτροπία που κρατά τους αναβάτες σε εγρήγορση εδώ και δεκαετίες. Η οδήγηση μοτοσυκλέτας σημαίνει ότι ο αναβάτης αναλαμβάνει την ευθύνη για τα πάντα γύρω του. Η αντικατάσταση αυτής της ευθύνης με ηλεκτρονικά συστήματα απαιτεί διαφορετική προσέγγιση και χρειάζεται να υπάρχει πάντα στη σκέψη του αναβάτη ότι αυτά μπορεί να αποτύχουν στη λειτουργία τους ώστε να μην χάνεται ποτέ η εγρήγορση.







.png)

